Teknoloji devi Apple, çıkardığı akıllı saatleri görme engelliler için daha kullanışlı hale getirmek için yeni özellikler ekleyecek. Apple tarafından alınan dokunsal geri bildirim patenti, görme engelliler için kullanılacak.
Teknoloji hayatımızın her alanına girmişken, engelli bireyler içinde kolaylıklar sağlamaya devam ediyor. Görme engelli insanların akıllı saat kullanmaları durumunda işe yarar özellikler kısıtlanıyordu. Apple tarafından yeni alınan patentle birlikte, Apple Watch cihazları görme engelliler için yenilikler eklenecek.
Yeni Patent: Dokunsal Geri Bildirimi
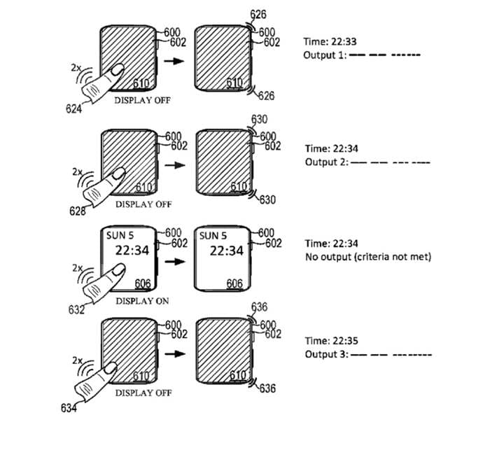
Apple tarafından yeni alınan patentle, Apple Watch saatlerine dokunsal geri bildirim özelliği kullanılacak. Apple'ın geliştirdiği ve saatlerine ekleyeceği bu özellikle birlikte, görme engelli kişi dokunsal geri bildirim ile saatin kaç olduğunu, konumunu, kimden mesaj geldiğini öğrenebilecek.

Piyasada farklı markaların saatlerinde engelliler için çeşitli özellikler zaten bulunuyor. Fakat engelli insan bu özellikleri bir yere kadar kullanabiliyor ve zorlanıyor. Apple aldığı patent ile birlikte bu zorluğu bir nebzede olsa ortadan kaldırmak istiyor.